Патент РФ № 2325544 «Интегральный ракетно-прямоточный двигатель (ирпдт)»
| Номер патента: | 2325544 |
| Класс(ы) патента: | F02K7/18 |
| Номер заявки: | 2006122264/06 |
| Дата подачи заявки: | 22.06.2006 |
| Дата публикации: | 27.05.2008 |
| Автор(ы): | Верхоломов Вячеслав Кириллович, Суриков Евгений Валентинович, Яновский Леонид Самойлович, Граменицкий Михаил Дмитриевич, Животов Николай Павлович, Рыбаулин Сергей Николаевич |
| Патентообладатель(и): | Федеральное государственное унитарное предприятие «Центральный институт авиационного моторостроения имени П.И. Баранова», Открытое акционерное общество «Машиностроительное конструкторское бюро "Искра" им. И.И. Картукова» |
Суть изобретения:
Изобретение относится к машиностроению, а именно к интегральным ракетно-прямоточным двигателям. Интегральный ракетно-прямоточный двигатель содержит газогенератор с твердотопливным зарядом, камеру сгорания, снабженную, по меньшей мере, одним патрубком, несбрасываемую крышку, размещенную на патрубке и имеющую корпус с решеткой, состоящей из продольных и поперечных ребер, и пластину слоистой структуры. Решетка выполнена равнопрочной со стенкой камеры сгорания и выступает в камеру сгорания на толщину ее теплозащитного покрытия. Пластина состоит из металлической фольги и защитнокрепящего слоя. На внутренней поверхности камеры сгорания нанесено теплозащитное покрытие, выполненное с защитнокрепящим слоем путем нанесения последнего на его поверхность. Изобретение позволяет повысить надежность работы интегрального ракетно-прямоточного двигателя в момент перехода от стартового к маршевому режиму, улучшить условия подачи воздушного потока в камеру сгорания и повысить коэффициент восстановления полного давления камеры сгорания при работе двигателя.
Описание изобретения:
Изобретение относится к машиностроению, а именно к интегральным ракетно-прямоточным двигателям.
В настоящее время на летательных аппаратах (ЛА) находят применение интегральные ракетно-прямоточные двигатели (ИРПДТ) с твердотопливным газогенератором, у которых заряд твердого ракетного топлива (ТРТ) стартового ракетного двигателя размещен в камере сгорания прямоточного двигателя. Передняя часть камеры сгорания снабжена, по меньшей мере, одним патрубком, к которому пристыковано воздухозаборное устройство (ВЗУ) и через которое при работе ИРПДТ на прямоточном режиме в камеру сгорания поступает набегающий воздушный поток. Важным элементом ИРПДТ является крышка, которая размещается в патрубке камеры сгорания и которая герметично закрывает ВЗУ при работе стартового ракетного двигателя. В начальный период применения ИРПДТ крышка была сбрасываемой, т.е. после окончания работы стартового ракетного двигателя, когда ЛА приобретал необходимую скорость полета (необходимое число М), крышка выбрасывалась через камеру сгорания и сопло в окружающую среду. Поскольку крышка, как правило, была толстостенной и имела значительную массу, то ее заранее непредсказуемое движение в окружающей среде представляло опасность для других ЛА. Поэтому в последнее время одним из основных требований, предъявляемых к ИРПДТ, является отсутствие сбрасываемых массивных частей, что, в первую очередь, относится к крышке. Серьезным недостатком, ограничивающим применение ИРПДТ в настоящее время, являются трудности создания надежной и компактной несбрасываемой крышки.
Известен интегральный ракетно-прямоточный двигатель (ИРПДТ) с несбрасываемой крышкой, патент ФРГ N 3003004, 1981 г., МКИ F02C 7/04), где несбрасываемая крышка изготовлена из предварительно напряженного материала и разрушается на мелкие осколки при ударе острого стержня, соединенного с поршнем, который перемещается в специальном канале под действием давления продуктов первичного сгорания, поступающих из газогенератора при воспламенении твердотопливного заряда после окончания работы стартового ракетного двигателя. Однако в таком ИРПДТ невозможно обеспечить приемлемую надежность функционирования такой крышки. Известно, что продукты первичного сгорания, образующиеся в газогенераторе, помимо высокой температуры имеют в своем составе значительное содержание конденсированной фазы (до 70%), которая может зашлаковать щелевой зазор между поршнем и каналом. Использование же специального фильтра сопряжено с потерями давления и увеличением времени перемещения поршня, что в итоге снижает силу удара стержня в крышку.
Наиболее близким техническим решением, выбранным за прототип, является интегральный ракетно-прямоточный двигатель (ИРПДТ), патент США N 6631610, 1983 г., МКИ F02K 7/18, состоящий из камеры сгорания, снабженной, по меньшей мере, одним патрубком, на внутренней поверхности камеры сгорания нанесено теплозащитное покрытие, скрепленного с ним заряда твердого ракетного топлива стартового ракетного двигателя, размещенной в патрубке несбрасываемой крышки, состоящей из корпуса с решеткой, состоящей из продольных и поперечных ребер, и пластины слоистой структуры. При этом корпус с решеткой прочно зафиксирован в патрубке камеры сгорания и является несбрасываемым. Пластина, закрывающая решетку со стороны камеры сгорания, состоит из нескольких чередующихся слоев палладия (Pd) и алюминия (Al). При этом каждый слой Al заключен между двумя слоями Pd, и толщина каждого слоя Pd составляет половину толщины слоя Al. При воздействии высокой температуры (выше 650°С) между слоями Pd и Al происходят экзотермические реакции с выделением значительного количества тепла, в результате которых получается порошкообразный PdAl, выбрасываемый в камеру сгорания. Таким образом, в конце работы стартового ракетного двигателя, когда поверхность горения заряда твердого ракетного топлива достигает поверхности пластины, начинается реакция между ее металлическими слоями Pd и Al, в результате чего пластина распадается на частицы PdAl, которые выбрасываются в камеру сгорания ИРПДТ. В камеру сгорания начинает поступать воздух через воздухозаборное устройство и патрубок камеры сгорания, который после включения твердотопливного газогенератора смешивается с продуктами первичного горения, поступающими из твердотопливного газогенератора. В связи с высокой скоростью горения твердого ракетного топлива (ТРТ) стартового ракетного двигателя продолжительность контакта высокотемпературной зоны горения с поверхностью пластины может оказаться недостаточной для начала реакций между слоями Pd и Al и разрушения пластины. Для того чтобы избежать таких случаев, на поверхность пластины со стороны камеры сгорания крепятся несколько воспламенительных выступов, изготовленных из того же материала, что и пластина (слоев Pd и Al), и выступающих над поверхностью пластины примерно на 2,5÷6,5 мм. Однако обеспечить надежное функционирование такой крышки практически невозможно. Из-за имеющегося в действительности неравномерного выгорания поверхности заряда ТРТ контакт высокотемпературной зоны горения с поверхностью пластины получается локальным, в результате чего в этом месте происходит «прожег» пластины и через образовавшееся отверстие возможен выброс высокотемпературных продуктов сгорания твердого ракетного топлива (ТРТ) в воздухозаборное устройство (ВЗУ). Кроме того, известно, что для обеспечения адгезии заряда ТРТ к теплозащитному покрытию (ТЗП) камеры сгорания, на теплозащитное покрытие наносится резиноподобный защитнокрепящий слой (ЗКС) толщиной 1-1,5 мм. В рассмотренной конструкции несбрасываемой крышки такой слой ЗКС не предусмотрен. Поэтому при работе стартового ракетного двигателя пластина и скрепленные с ней воспламенительные выступы являются опасными концентраторами напряжений, что может привести к разрушению заряда ТРТ.
Решаемой задачей изобретения является повышение надежности работы интегрального ракетно-прямоточного двигателя (ИРПДТ) в момент перехода от стартового к маршевому режиму, улучшение условий подачи воздушного потока в камеру сгорания и повышение коэффициента восстановления полного давления камеры сгорания при работе прямоточного двигателя.
Технический результат обеспечивается тем, что в предлагаемом интегральном ракетно-прямоточном двигателе (ИРПДТ), содержащем газогенератор с твердотопливным зарядом, камеру сгорания, снабженную, по меньшей мере, одним патрубком, при этом на внутренней поверхности камеры сгорания нанесено теплозащитное покрытие, размещенную на патрубке несбрасываемую крышку, имеющую корпус с решеткой, состоящей из продольных и поперечных ребер, и пластину слоистой структуры, решетка выступает в камеру сгорания на толщину ее теплозащитного покрытия, а пластина состоит из металлической фольги и защитнокрепящего слоя, причем решетка выполнена равнопрочной со стенкой камеры сгорания, а теплозащитное покрытие камеры выполнено с защитнокрепящим слоем путем нанесения последнего на его поверхность.
Защитнокрепящий слой пластины несбрасываемой крышки выполнен за одно целое с защитнокрепящим слоем теплозащитного покрытия камеры сгорания, а несбрасываемая крышка по периферии снабжена острым выступом, проникающим в защитнокрепящий слой.
Поперечные ребра решетки размещены к оси камеры сгорания под острым углом и их передние кромки спрофилированы, при этом решетка образует направляющий элемент для подачи воздушного потока в камеру сгорания.
На фиг. 1 изображена схема интегрального ракетно-прямоточного двигателя перед началом работы.
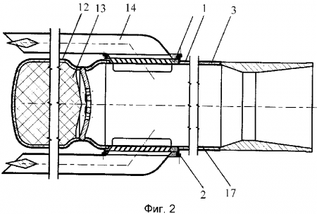
На фиг. 2 - схема интегрального ракетно-прямоточного двигателя в конце работы стартового ракетного двигателя.
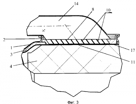
На фиг. 3 - продольный разрез несбрасываемой крышки, размещенной в патрубке камеры сгорания.
На фиг. 4 - поперечный разрез несбрасываемой крышки, размещенной в патрубке камеры сгорания.
На фиг. 5 - поперечный разрез несбрасываемой крышки.
На фиг. 6 - вид А на фиг.5.
На фиг. 7 - размещение поперечных ребер решетки к оси камеры под острым углом и профилирование их передней части.
На фиг. 8 - пространственный вид решетки со стороны воздухозаборного устройства.
На фиг. 9 - пространственный вид отсека камеры сгорания в сборе с несбрасываемой крышкой.
Заявляемый интегральный ракетно-прямоточный двигатель (ИРПДТ) содержит камеру сгорания 1, снабженную, по меньшей мере, одним патрубком 2. На внутреннюю поверхность камеры 1 сгорания нанесено теплозащитное покрытие 3, с которым скреплен заряд 4 твердого ракетного топлива (ТРТ) стартового ракетного двигателя 5. В патрубке 2 размещена несбрасываемая крышка 6, состоящая из корпуса 7 с решеткой 8, состоящей из продольных 9 и поперечных 10 ребер и пластины 11 слоистой структуры. С камерой 1 сгорания скреплен газогенератор 12 с твердотопливным зарядом 13, а к патрубку 2 пристыковано воздухозаборное устройство 14.
Решетка 8 выступает в камеру 1 сгорания на толщину ее теплозащитного покрытия 3, а пластина 11 слоистой структуры состоит из металлической фольги 15 и защитнокрепящего слоя 16. При этом решетка 8 выполнена равнопрочной со стенкой камеры 1 сгорания и на поверхность ТЗП 3 камеры 1 сгорания нанесен защитнокрепящий слой 17.
Защитнокрепящий слой 16 пластины 11 выполнен за одно целое с защитнокрепящим слоем 17 теплозащитного покрытия 3 (ТЗП) камеры 1 сгорания, а несбрасываемая крышка 6 по периферии снабжена острым выступом 18, проникающим в защитнокрепящий слой 17.
Поперечные ребра 10 решетки 8 размещены к оси камеры 1 сгорания под острым углом αo и их передние кромки 19 спрофилированы. При этом решетка 8 с продольными 9 и поперечными 10 ребрами образует направляющий элемент для подачи воздушного потока 20 в камеру 1 сгорания.
Интегральный ракетно-прямоточный двигатель (ИРПДТ) работает следующим образом.
При срабатывании воспламенительного устройства (на фиг. 1 не показано) поджигается поверхность заряда 4 твердого ракетного топлива (ТРТ) и начинается работа стартового ракетного двигателя 5, например, на фиг. 1 схематично изображен стартовый бессопловый ракетный двигатель, представляющий собой заряд 4 твердого ракетного топлива (ТРТ) с каналом, который заканчивается раструбом. В процессе работы стартового твердотопливного двигателя, горения заряда 4 ТРТ, происходит увеличение скорости полета ЛА, который оснащен предлагаемым ИРПДТ. В конце работы стартового твердотопливного двигателя ЛА разгоняется до требуемой скорости полета, требуемого числа М полета. При этом поверхность горения заряда 4 ТРТ достигает защитнокрепящего слоя 16 пластины 11 слоистой структуры и защитнокрепящего слоя 17 теплозащитного покрытия 3 (ТЗП) камеры 1 сгорания. При контакте с высокотемпературными продуктами сгорания заряда 4 твердого ракетного топлива (ТРТ), Тпс≈3000К, происходит частичное коксование защитнокрепящего слоя 16 на толщину примерно 0,4÷0,5 мм, что приводит к частичной потере его эластичности. При спаде давления в камере 1 сгорания воздухозаборное устройство (ВЗУ) 14 освобождается от заглушек на входе (на фиг. 1 и 2 не показаны). Под действием скоростного напора набегающего потока воздуха 20, поступающего через возухозаборное устройство 14 (ВЗУ), пластина 11 слоистой структуры, состоящая из металлической фольги 15 и прококсованного защитнокрепящего слоя 16, выбрасывается в камеру 1 сгорания, в которой под воздействием остаточных высокотемпературных продуктов сгорания происходит разрушение защитнокрепящего слоя 16 и металлической фольги 15 на мелкие части. Через решетку 8 с продольными 9 и поперечными 10 ребрами в камеру 1 сгорания начинает поступать воздушный поток 20, и в это же время срабатывает воспламенительное устройство (на фиг. 2 не показано) в газогенераторе 12, что приводит к воспламенению и горению твердотопливного заряда 13. Продукты первичного горения, обогащенные горючими компонентами, поступают из газогенератора 12 в камеру 1 сгорания, где смешиваются с воздушным потоком и окончательно дожигаются. В случае, когда защитнокрепящий слой 16 пластины 11 слоистой структуры выполнен за одно целое с защитнокрепящим слоем 17 теплозащитного покрытия 3 (ТЗП) камеры 1 сгорания, несбрасываемая крышка 6 по периферии снабжена острым выступом 18, проникающим в защитнокрепящий слой 17. Острый выступ 18, которым, например, заканчивается корпус 7 несбрасываемой крышки 6 на фиг. 6, создает в защитнокрепящем слое 17 соответствующую по форме канавку, которая при работе стартового твердотопливного двигателя является концентратором напряжений, приводящим к ослаблению защитнокрепящего слоя 17 и последующему его разрыву по периметру канавки под воздействием воздушного потока 20 при окончании работы стартового ракетного двигателя 5. По сравнению с прототипом в заявляемом ИРПДТ поперечные ребра 10 решетки 8 размещены к оси камеры 1 сгорания под острым углом αо<90° и их передние кромки спрофилированы. В схеме на фиг. 7 показано, например, что профилирование передней части ребер заключается в получении острой кромки под острым углом к оси камеры 1 сгорания. При этом в зависимости от геометрических характеристик переходного отсека ВЗУ 14 острый угол у разных ребер 10 может быть различным: α1, α2, α3 и т.д.
Достигнутым техническим результатом является то, что благодаря предложенному изобретению повышается надежность работы интегрального ракетно-прямоточного двигателя (ИРПДТ) в момент перехода от стартового к маршевому режиму, т.е. в период окончания работы стартового ракетного двигателя и начала работы ракетно-прямоточного двигателя, улучшаются условия подачи воздушного потока в камеру сгорания и повышается коэффициент восстановления полного давления камеры сгорания при работе ИРПДТ на прямоточном режиме.
По сравнению с прототипом количество слоев пластины 11 слоистой структуры уменьшено с 12 до 2. Толщина металлической фольги (0,1-0,2 мм) принимается такой, чтобы ее масса не превышала ~5 г.Металлическая фольга опирается на ребра решетки 8, выступающей в камеру 1 сгорания на толщину ее теплозащитного покрытия 3. Решетка 8 состоит из продольных 9 и поперечных 10 ребер, образующих ячейки решетки 8. Площадь ячеек принимается такой, чтобы не нарушить прочность тонкостенной металлической фольги 15 при работе стартового ракетного двигателя в эксплуатационном диапазоне температур ±50°С. Со стороны камеры 1 сгорания на металлическую фольгу 15 пластины 11 слоистой структуры по всей поверхности наносится, например, резиноподобный, защитнокрепящий слой 16 толщиной 1÷1,5 мм. Собранная пластина 11 слоистой структуры со стороны воздухозаборного устройства (ВЗУ) по периферии может быть присоединена к нижней торцевой поверхности корпуса 7 несбрасываемой крышки 6. При этом усилие соединения на отрыв металлической фольги 15 пластины 11 слоистой структуры должно быть меньше усилия от скоростного напора набегающего воздушного потока на площадь пластины 11. Далее на поверхность теплозащитного покрытия 3 камеры 1 сгорания наносится защитнокрепящий слой 17 такого же состава, что и защитнокрепящий слой 16. Несбрасываемая крышка 6 фиксируется в патрубке 2 либо по одной из прессовых посадок между поверхностями корпуса 7 несбрасываемой крышки 6 и патрубка 2, либо, например, с помощью фланцевого соединения, фиг. 3 и 4. Стык между защитнокрепящим слоем 16 пластины 11 слоистой структуры и защитнокрепящим слоем 17 теплозащитного покрытия 3 камеры 1 сгорания заливается, например, герметиком.
В случае, когда защитнокрепящий слой 16 пластины 11 слоистой структуры выполнен за одно целое с защитнокрепящим слоем 17 теплозащитного покрытия 3 камеры 1 сгорания, производится сборка металлической фольги 15 пластины 11 слоистой структуры с решеткой 8, после чего несбрасываемая крышка 6, снабженная по периферии острым выступом 18, размещается и закрепляется в патрубке 2. Наносится защитнокрепящий слой 17 по всей внутренней поверхности теплозащитного покрытия 3 и металлической фольги 15 несбрасываемой крышки 6. При этом острый выступ 18 проникает в защитнокрепящий слой 17 и создает в нем канавку соответствующего сечения и глубиной ~30÷50% толщины защитнокрепящего слоя 17, которая при работе ИРПДТ является концентратором напряжений, ослабляя в этом месте прочность защитнокрепящего слоя 17.
Благодаря размещению поперечных ребер 10 решетки 8 под острым углом αо к оси камеры 1 сгорания и профилированию их передних кромок 19, решетка 8, в отличие от прототипа, где αо=90°, образует направляющий элемент для улучшения условий подачи воздушного потока в камеру сгорания. В зависимости от геометрических характеристик существует оптимальное значение угла αо опт подачи воздушного потока 20, поступающего из воздухозаборного устройства 14, к оси камеры 1 сгорания.
В различных интегральных ракетно-прямоточных двигателях (ИРПДТ) этот угол изменяется в пределах от 30 до 40 градусов. Увеличение угла αо подачи воздушного потока к оси камеры сгорания по отношению к оптимальному значению αо опт приводит к снижению проекции на ось X, совпадающую с осью камеры сгорания, секундного количества движения воздушного потока в уравнении сохранения количества движения для контрольного объема камеры сгорания, что, в конечном счете, приводит к росту потерь полного давления в камере сгорания, т.е. к уменьшению коэффициента восстановления полного давления σкс камеры сгорания и, в конечном счете, к снижению тягово-экономических характеристик (ТЭХ) ИРПДТ на прямоточном режиме работы. Уменьшение же угла αо по отношению к αо оптможет привести к снижению коэффициента полноты сгорания ηг топлива в камере сгорания, что, в конечном счете, также снизит ТЭХ двигателя на прямоточном режиме работы.
Таким образом, в заявляемом интегральном ракетно-прямоточном двигателе (ИРПДТ) благодаря предложенной конструкции несбрасываемой крышки повышается надежность работы двигателя при переходе от стартового к маршевому режиму, а решетка с продольными и поперечными ребрами является и опорой для разрушаемой пластины, как в прототипе, и направляющим элементом для подачи воздушного потока в камеру сгорания под углом αо, близким к оптимальному для конкретной камеры сгорания.
Формула изобретения:
1. Интегральный ракетно-прямоточный двигатель (ИРПДТ), содержащий газогенератор с твердотопливным зарядом, камеру сгорания, снабженную, по меньшей мере, одним патрубком, при этом на внутренней поверхности камеры сгорания нанесено теплозащитное покрытие, размещенную на патрубке несбрасываемую крышку, имеющую корпус с решеткой, состоящей из продольных и поперечных ребер, и пластину слоистой структуры, отличающийся тем, что решетка выступает в камеру сгорания на толщину ее теплозащитного покрытия, а пластина состоит из металлической фольги и защитнокрепящего слоя, причем решетка выполнена равнопрочной со стенкой камеры сгорания, а теплозащитное покрытие камеры выполнено с защитнокрепящим слоем путем нанесения последнего на его поверхность.
2. Интегральный ракетно-прямоточный двигатель по п. 1, отличающийся тем, что защитнокрепящий слой пластины несбрасываемой крышки выполнен за одно целое с защитнокрепящим слоем теплозащитного покрытия камеры сгорания, а несбрасываемая крышка по периферии снабжена острым выступом, проникающим в защитнокрепящий слой.
3. Интегральный ракетно-прямоточный двигатель по п. 1, отличающийся тем, что поперечные ребра решетки размещены к оси камеры сгорания под острым углом и их передние кромки спрофилированы, при этом решетка образует направляющий элемент для подачи воздушного потока в камеру сгорания.
Рисунки:







- Жалоба
- 1 127
- syshatunov от